<li id="qqqqq"></li>
  • <tt id="qqqqq"><table id="qqqqq"></table></tt>
    <li id="qqqqq"></li>
    無憂MBA論文網MBA論文 > MBA畢業論文 > 企業管理 > 正文

    基于ELM模型的網絡消費行為研究

    時間:2016-04-13 來源:www.jseastgenia.com作者:lgg
    第一章 緒 論
     
    第一節 研究背景
    “社區”的概念一直是互聯網的核心,伴隨著互聯網的出現與發展(Wang,2002)。如今,隨著互聯網社區技術的飛速進步,社會化媒體①的應用日益成熟,這不僅預示著  Web2.0 時代的到來,同時也宣告了人們即將進入互聯網社區化時代。社區類應用產生至今,一直是互聯網應用的主角,從早期的 BBS 論壇,博客,QQ 空間到之后的人人網等社交網站(SNS),直至發展到如今的微博、朋友圈,社區化應用一直在不斷地變化和創新。根據第 35 次《中國互聯網絡發展狀況統計報告》,本文對 Weibo、Blog、BBS 以及社交網站(Social Network Site)等幾類常見的網絡社區應用情況進行了整理,如表 1-1 所示: 網絡社區的作用是將用戶的人際關系價值最大化,其價值包括娛樂價值和商務價值(Kim,2011)。在娛樂價值方面,將社交游戲定位為平臺應用核心,并通過游戲迅速發展新用戶是網絡社區中較為常見的方式;在商務價值方面,網絡社區已經成為人們網上交流互動的平臺,商家通常采用口碑營銷、線下聯誼等方式促進用戶互動的多樣化和真實化,從而提高用戶的黏性。 然而,國內許多商業社區網站經營的高投入并未獲得相應的高回報。究其原因在于多數網站經營者的思考模式仍停留在傳統的實體交易階段,認為只要點擊率高,交易獲利的機會就大,于是追求網站流量成了他們互聯網營銷的主要目標,顯然這是緣木求魚之舉。這一窘境的出現也折射出了網絡社區背景下的網絡消費行為在學術研究上的捉襟見肘,具體表現在相關研究成果多為描述性研究,尤其在網絡消費行為的決策機制研究方面缺乏內在機理分析,從而導致近幾年的研究成果很難在網絡營銷中提供有效的指導作用。而其本質問題在于:學者們對網絡消費行為的研究基本沿襲了傳統的消費行為研究體系,并未充分地體現出網絡媒介的優勢及其與傳統市場的差異(沈蕾,2014)。 互聯網的出現不僅使當代社會的互動模式和組織模式得以重整,同時也使原有的社會信息資源配置結構發生了巨大的變化。通過研究基于感知風險的網絡信息交互對消費者購買意愿的影響作用,可以幫助我們深入發掘消費者購買決策的影響因素,從而使企業與客戶的互動關系得到進一步改善,幫助企業有效降低消費者的消費感知風險,提高營銷效率,獲取更大的商業利潤。 
    ..........
     
    第二節 理論意義與實用價值
    網絡消費一直是近幾年的研究熱點,尤其是電子商務領域的研究已經十分成熟,但這些研究絕大多數的關注點都在傳統的消費行為上,缺乏與互聯網信息的銜接,尤其是在網絡社區等網絡背景下的消費行為并未引起學者們足夠的重視。雖然近幾年對于互聯網口碑以及虛擬社區的研究逐漸成為研究熱點,但這也僅僅只是網絡社區信息傳播形式中的冰山一角,并未能真正揭示出網絡消費行為的正真特征。 本文研究的落腳點在于個體消費者層面,將感知風險理論運用于網絡消費行為的基礎性研究。主要集中在兩個方面:(1)消費者行為方面。探討網絡信息交互、感知風險和消費者行為之間的內在機理,試圖用更符合社會化媒體時代的消費行為特征來解釋消費者的決策過程;(2)感知風險理論方面。進一步將感知風險理論運用于網絡消費中,探索了感知風險理論在社會化媒體背景下的網絡消費中是否依舊成立。一言概之,本文試圖拓展網絡消費的研究視角,使其與社會化媒體特征的銜接更加緊密。 
    .......
     
    第二章文獻綜述
     
    本章以消費者行為選擇理論為線索,探討網絡社區背景下消費者購買意愿的內在變動機理。在消費者行為選擇中,其購買意愿是基礎。影響消費者購買意愿的因素眾多,但其行為路徑基本一致:消費者“所得”、“所失”兩者之間的比較結果作為行為選擇“前景”,以此確定其行為選擇意愿。即,當行為預期結果處于“所得”(收益)狀態時(前景),一般選擇規避風險的行為;當行為預期結果處于“所失”(損失)狀態時,一般選擇愿意承受風險的行為;同時,大多數人對損失的敏感程度遠大于對收益的敏感程度?;谝陨侠碚摶A,首先對本研究所涉及的一些基本概念進行闡述和界定,然后對感知風險、信息傳播模式、E-K-B 模式以及 ELM 說服路徑模型進行了詳細地闡述,提煉出學者們的主流觀點和不足之處,從而為接下去的研究提供理論支持。 
     
    第一節 理論基礎
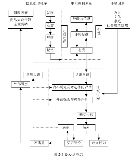
    E-K-B 模式是消費者理性購買決策行為理論中由 Engel,Kollat 和 Blaekw 三人于 1968 年提出,后多次修改,消費者做出理性購買行為可以分為五個階段:(1)問題認知。問題認知產生于消費者的理想狀況和實際狀況存在差異的情況下。(2)收集信息。當消費者認知問題存在后,便會去尋求此問題的相關信息。(3)方案評估。在收集到所需的信息之后,消費者便根據所得到的信息去評估各個方案的可行性。(4)選擇。在各種可能的方案被評估后,消費者便會選擇一個最佳方案并采取購買行動。(5)購買結果。產品或服務被使用之后,消費者最終可能發生滿意或購買認知失調兩種結果,并將其存儲于記憶當中(Engel,Kollat,Black Well,1984)。對于該模式的詳細解釋如圖 2-1 所示: 第一階段:問題認知。問題認知是 E-K-B 模式的第一步。其產生由外部因素與內部因素共同刺激產生,即當消費者意識到現實的狀況與其理想狀況出現偏差時,便產生了問題的認知。此時,整個決策系統便被激活,決策目標也逐漸細化成具體的行動。 第二階段:收集信息。在第一階段的問題認知之后,消費者下一步便是收集先關的信息。同時信息的收集包括內部信息的收集和外部信息的收集兩個部分。所謂的內部信息收集是根據自身的實踐經驗或者以往已經存在的一些原始資料;而后者則指通過大眾媒體、銷售人員以及親朋好友等渠道所收集的相關信息。當消費者無法通過內部信息搜尋滿足信息方面的需求時,便會試著通過外部信息渠道進行相關信息的搜尋。而是否使用外部信息搜尋是由消費者自身對于產品的利得和成本的權衡決定的。
    .........
     
    第二節 網絡消費行為的研究
    關于消費者行為的定義,學者們總在不斷地發展并擴大其內涵。Enge(l1978)將消費者行為定義為個人為獲得商品或服務時,直接參與的行為,其程序主要包括引導和決策等。而 Schiffillan 和 Kanuk(1991)則認為消費者行為是指消費者為了滿足自身需求而表現出的一系列行為,包括對產品、服務以及構想的追求、購買使用、處置和評價等。Hoyer 和 MacInnis(2004)則認為消費行為是一個決策過程,因此他們將消費者行為定義為反應消費者為獲得商品和服務時,耗費時間而制定計劃的決策過程。Blackwell(2009)在 Hoyer 和 MacInnis(2004)的定義基礎上進一步對消費行為概念進行了補充,認為除了購買前的決策過程外,消費行為也應該包括消費后的評價過程。 綜上所述,本文認為消費者行為是指消費者為獲取能滿足欲望或需求的產品或服務,而采取的一系列行為活動,包括動機、信息收集、購買反饋等一系列決策過程。
    .......  
     
    第三章 概念模型與研究假設....26
    第一節 概念模型的提出....26
    第二節 研究假設....30 
    第三節 研究變量的測量....32
    第四節 問卷設計和調查實施........35
    第四章 實證結果與分析......38
    第一節 數據分析....38
    第二節 模型驗證....48
    第三節 產品涉入程度影響研究....51
    第四節 感知風險的中介效果分析......54
    第五章 研究結論與展望......59
    第一節 研究結果與分析....59
    第二節 管理策略與建議....60
    第三節 研究局限與展望....61
     
    第四章? 實證結果與分析
     
    第一節 數據分析
    在性別上,男性樣本 188 人,占 45.6%,女性樣本 224,占 54.4%;年齡分布上 25 歲以內的 192 人,占 46.6%,26-30 歲的有 138 人,占 33.5%,31-40 歲的有 70 人,占 17.0%,40 歲以上的有 12 人占 2.9%;教育分布上,高中/中專及以下的由 14 人,占 3.4%,大專/本科的由 98 人,占 72.3%,碩士及以上的有 100人,占 24.3%;在社交網站類型上,以陌生人為主的有 220 人,占 53.4%,以熟人為主的有 192 人,占 46.6%。詳細情況見表 4-1。 信度,即測量工具的可靠性,是指所采用的測量方法對調查目標進行測量時,得出結果的一致性程度和穩定性狀況。本研究對問卷數據進行信度分析,主要目的是為了檢測本文設計的問卷是否可靠。常用的信度分析方法有三種: 1.重測信度法。重測信度法是指研究人員針對同一批調查對象,在不同的兩個時間發放相同的調查問卷,最后得出兩次調查所得分值的相關系數。 2.復本信度法。復本信度法是指研究人員在同一時間或者不同時間,使用兩份難度相當的調查問卷對同一批調查對象進行調查研究,最后得出兩次調查所得分值的相關系數。 3.內部一致性信度法。內部一致性信度法主要分為綜合信度 ρo 系數分析和克朗巴哈 α(Cronbach's α)系數分析。其原理是先分析同一測評內部的各個項目之間的相關系數,然后再根據相關系數對信度進行估算。 
    ........
     
    結論
     
    本文首先在國內外文獻的研究基礎之上,分別從網絡口碑信息和觀察性學習兩方面展開網絡社區中的信息交互對消費者購買決策的影響研究;然后結合了傳播學的理論,從信息的傳播要素中提煉網絡口碑信息的影響因素,將網絡口碑信息劃分為四個維度,分別從信源質量,信息質量,關系強度,交流氛圍這四個方面來進行考察;接著,筆者以感知風險理論為理論基礎構建了概念模型與研究假設,并基于 ELM 模型中雙路徑的研究,將產品涉入程度作為調節變量;最后,筆者又以浙江地區的網絡用戶為研究對象,進行了實證分析,對研究假設進行了驗證。本文的研究結論如下所示: 其一,網絡口碑信息來源對于感知風險具有負向的影響。從回歸分析的結果可以看出,信源質量越高時,消費者的感知風險便越低(H1 成立)。對此的解釋是:互聯網中所傳播的信息是魚龍混雜,而且呈指數級別增長,為此理性消費者要想完全了解產品信息并對其進行處理作出準確的判斷幾乎是不可能完成的事,因此通過口碑信息來源的可靠性以及口碑信息的詳細程度等來進行信息的篩選是一個明智的選擇。 其二,網絡口碑信息的質量對于感知風險具有負向的影響。從回歸分析的結果可以看出,信息質量越高時,消費者的感知風險便越低。對此的解釋是:口碑信息的質量是指口碑信息中所包含內容的詳細程度以及專業性,故高質量的口碑信息對于消費者來說更具說服力,同時詳盡的信息也有利于消費者對產品進行全面的評判,從而降低了內心的感知風險。 其三,網絡口碑信息的傳播者與消費者關系的密切程度對感知風險具有負向的影響。從回歸分析的結果可以看出,關系強度越高時,消費者的感知風險便越低(H3 成立)。對此的解釋是:虛擬性是網絡社區的主要特征之一,在網絡社區中充斥著真真假假的消息,消費者要想對所有的信息進行逐一處理是不切實際的。而人類作為有感情的社群動物,通過與自身的關系親疏程度作為判斷信息真假的參考也是無可厚非的。 
    .........
    參考文獻(略)
    相關閱讀
      暫無數據
    ?
    想畢業,找代寫
    在線咨詢 在線留言咨詢
    QQ在線
    返回頂部
    <li id="qqqqq"></li>
  • <tt id="qqqqq"><table id="qqqqq"></table></tt>
    <li id="qqqqq"></li>
    欧美激情视频一区 太谷县| 图们市| 济源市| 宜都市| 新蔡县| 佛山市| 九龙坡区| 广南县| 屯昌县| 庆元县| 浮梁县| 油尖旺区| 武宁县| 扎赉特旗| 福贡县| 延边| 保康县| 阿图什市| 三江| 额敏县| 阿克陶县| 龙胜| 南岸区| 泌阳县| 藁城市| 阳东县| 吴江市| 布尔津县| 简阳市| 雷州市| 淮安市| 山东省| 兴安县| 长汀县| 灯塔市| 永善县| 旬邑县| 宁蒗| 龙川县| 灵山县| 霍城县| http://444 http://444 http://444