<li id="qqqqq"></li>
  • <tt id="qqqqq"><table id="qqqqq"></table></tt>
    <li id="qqqqq"></li>
    無憂MBA論文網MBA論文 > MBA課程論文 > 公共選修課企業倫理 > 正文

    質量倫理與企業創新績效的關系研究

    時間:2020-03-07 來源:51mbalunwen.com作者:vicky
    本文是一篇企業倫理論文,通過對所收集和篩選得到的有效樣本數據,進行更深一步的分析和實證的研究,本文所提到出的7項研究假設全部得到了實證的支撐,研究的主要結論如下:(1)一個企業的質量倫理水平程度,影響著這個企業的創新績效的水平。研究說明,質量倫理可以直接和間接影企業創新績效。間接影響:通過中介變量知識管理和組織創新氛圍從而影響企業的創新績效,而且組織創新氛圍的影響程度大于知識管理的影響程度。在調查和研究中,我們能夠知道,具備更好的質量倫理的企業則更可能或得到大眾的認可,并在嚴峻的市場競爭環境中取得相對的優勢地位。這時,質量倫理與企業創新績效間是正相關關系。再此基礎上,首先確定企業質量倫理建設的目標,然后要求所有人建立質量第一的理念,按照較高水平的倫理基本原則和道德來規范自己的行為,自覺承擔社會責任,樹立良好的企業形象,從而獲取長期的經濟效益。

    1緒論

    1.1選題背景與研究意義
    1.1.1選題背景
    自改革開放40年以來,我國取得了舉世矚目的成果,中國的經濟又快又好的發展,“中國制造”已在全球扎根生長。取得這些成果都和質量的支撐有很大的關系。市場競爭越來越嚴峻,消費者對質量的要求越來越高,一個企業如果想達到顧客滿意度并取得競爭優勢,就要注重產品和服務的質量,注重質量管理。不僅要存戰略上加強質量的管理,更要注重倫理上的質量管理。質量倫理的建立對一個企業來說,不僅可以鞭策員工們不斷注重質量,更可以為企業內部的發展提供先進的指導方向,促進企業健康快速的發展。
    質量重要性明顯提升。“質量”頻頻出現在中國高層領導人的講話、報告、文件中,這絕對不是孤立的偶然現象。著力提高發展的質量和效率,我們將把質量強國的戰略放在更加突出的位置,并實施質量改進行動。加強綜合質量監督,全面提高質量水平,加快培育國際競爭新優勢,促進中國制造業向中國轉型。中國的速度已經轉變為中國的質量,中國的產品已經轉變為中國的品牌。
    隨著我國及現代經濟的飛速發展,大眾對于質量的關注度越來越高,質量倫理的相關概念也漸漸進入人們的視野。質量的高低不論是對于我國特色社會主義制度的建立,還是對于企業立足腳下的長遠發展,在提高競爭實力的方面,都有著至關重要的作用。在全球經濟一體化的發展趨勢下,質量是每一個發展中國家實現經濟現代化的根本保證。企業質量的重要性隨著大環境的市場化程度的提高而上升。在現代化市場經濟下,企業之間的合作與競爭相互博弈卻又彼此依存。而這其中,為了實現規避不當競爭,維持市場環境有序健康發展的目的,保證質量是提高核心競爭力的關鍵。
    ..............................

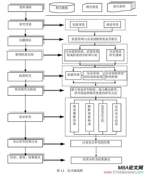
    1.2研究內容和技術路線
    1.2.1研究內容
    本文的研究核心是:質量倫理與企業創新績效的關系研究,本文研究的主要內容有以下幾點:
    (1)質量倫理的理論研究本文以或內外研宄的文獻為依據,對其進行梳理和分析,得出質量倫理的基本概念的界定和相關理論分析。
    (2)質量倫理、知識管理和組織創新氛圍以及企業創新績效的度量此研究部分開發和設計了質量倫理、知識管理和組織創新氛圍以及企業創新績效的變量,從而確定了本文需要研究的幾個變量:質量倫理、知識管理、組織創新氛圍和企業創新績效的主要測量的維度。
    (3)質量倫理與企業創新績效的關系的實證檢驗與研究通過對文獻的梳理和分析,本文對質量倫理與企業創新績效的關系建立了概念模型。本文通過引入知識管理和組織創新氛圍這兩個中介變量進行研究,提出了7個相關的研究假設。通過問卷調查獲得有效的樣本數據,再利用spss24.0分析軟件對數據進行可靠性檢驗,確認數據的有效性和可靠性。最后,運用AMOS24.0軟件對本文前面提到的理論模型進行建設結構方程模型,并對7個假設進行檢驗和模型效應分析。
    (4)企業提高創新績效的質量倫理政策建議此章節闡明了質量倫理建設的必要性和重要性,結合企業的實際情況,給出提高企業創新績效的質量倫理建設的建議。
    質量倫理與企業創新績效的關系研究
    ............................

    2文獻綜述

    2.1質量倫理
    2.1.1質量倫理的基本概念
    可以說,質量是一種倫理基因,質量與倫理之間有一層深厚的關系,這個關系是具有一定生態價值的。這種價值的實現是需要一種生態的理念支撐的,而這恰恰就是質量倫理所倡導的環境倫理。由于質量倫理有時比較抽象,所以很多學者都通過“道”或者“義”將它體現出來,讓質量倫理變成一種具體的、現實的、可行的規范。任何事物都是相互矛盾相互統一的,質量倫理亦是如此,它不僅是理論與實踐的統一,也是一種抽象與現實的統一,更它有形與無形的統一,是一種深入靈魂的價值觀念。質量倫理所倡導的環境倫理是一種綠色生態的倫理,他要求企業在經濟發展過程中應該樹立綠色的觀念和創新的觀念。因此,質量倫理的本質也可以稱作為一種積極向上的倫理價值觀,他能夠指導企業更好的發展。
    經濟倫理價值也是質量倫理的一種體現。這種體現不僅在我國本土民族企業經濟生產方面有巨大的影響,甚至許多外企也十分注重這種倫理價值。在我國,企業的經營者的素質尤為重要,一個企業的經理能夠激發自身的內在動力與活力,才能更好引導整個企業員工的發展向上。從另一個角度來看,質量倫理可以作為體現我國企業的民族素質的重要因素,它代表我國經濟的競爭在世界范圍內都占據重要的地位。同時,質量倫理也可以被看作是一條準則,這個準則可以規范市場經濟。我國有明確的質量法,它為我國高質量發展以及質量管理的完善具有重要的保障意義,對企業的規范也有一定的約束力。
    柴為民學者認為,“人”的質量是以人為主體,質量為對象。質量的“理”也必須將人作為主體。質量倫理是主觀與客觀的統一:“倫”是客觀,“理”是主觀。
    張長元學者認為,質量倫理就是一種質量道德,它不僅是企業倫理的重要組成部分,也是企業倫理責任集中的體現。質量倫理不但是改善社會質量關系的倫理方法,也是完善企業與國家質量關系的道德規范綜合。
    ..........................

    2.2知識管理
    2.2.1知識管理的基本概念
    學者楊俊祥、和金生為的知識管理是在企業管理方面進行的,他們認為知識管理是一個企業在多變和復雜的環境下,根據企業自身的實際情況,對知識進行甄別、獲取、創造、應用、分享五個過程的條理化梳理的管理活動,他們強調到“人”、“信息資源”和“技術手段”是在知識管理過程中尤為重要的的三個因素。
    2.2.1知識管理的度量
    本論文將已有的學者對知識管理的維度測量進行梳理,主要表現如下表2.1:
    技術路線圖
    ..........................

    3模型構建與研究假設........................18
    3.1結構方程模型........................18
    3.2質量倫理與企業創新績效的影響機理分析........................18
    4數據采集與分析....................23
    4.1問卷的設計、發放與回收....................23
    4.1.1調研對象的選擇....................23
    4.1.2問卷的設計....................23
    5實證研究...................40
    5.1運用AMOS建立結構方程模型...................40
    5.2模型識別...................40

    5實證研究

    5.1運用AMOS建立結構方程模型
    基于前面第三章對質量倫理、知識管理、組織創新氛圍及企業創新績效之間關系的理論分析和構建概念模型,第四章分析和檢驗了回收的樣本數據的可靠性和有效性并使用AMOS24.0構建質量倫理、知識管理、組織創新氛圍和企業創新績效相互關系的結構方程模型,如圖5.1所示:



    6結論與展望

    6.1研究結論
    通過對所收集和篩選得到的有效樣本數據,進行更深一步的分析和實證的研究,本文所提到出的7項研究假設全部得到了實證的支撐,研究的主要結論如下:
    (1)一個企業的質量倫理水平程度,影響著這個企業的創新績效的水平。研究說明,質量倫理可以直接和間接影企業創新績效。間接影響:通過中介變量知識管理和組織創新氛圍從而影響企業的創新績效,而且組織創新氛圍的影響程度大于知識管理的影響程度。在調查和研究中,我們能夠知道,具備更好的質量倫理的企業則更可能或得到大眾的認可,并在嚴峻的市場競爭環境中取得相對的優勢地位。這時,質量倫理與企業創新績效間是正相關關系。再此基礎上,首先確定企業質量倫理建設的目標,然后要求所有人建立質量第一的理念,按照較高水平的倫理基本原則和道德來規范自己的行為,自覺承擔社會責任,樹立良好的企業形象,從而獲取長期的經濟效益。
    (2)企業質量倫理的構建能夠加強企業的知識管理的完善。質量倫理是一個公司在追逐利益的時候,遇到一些質量問題,能夠去遵循的倫理基本原則和道德規范,是對該公司經濟行為的一種軟管束。一個企業的質量的方案的實行和質量管理的過程的完善,都和質量倫理規范的導向機制與約束機制的支撐有著巨大的關系。因此,質量倫理可以對企業的內部知識管理產生積極效應。企業知識管理能夠很好的實施離不開公司質量倫理建設的有效推廣。所以,我們需要不斷加強企業的知識管理的完善,從而引導企業積極健康的發展。
    (3)企業的質量倫理程度越高,這個企業的組織創新氛圍就越濃厚。組織創新氛圍擁有倫理的支撐,優質的質量倫理建設能夠促進一個企業營造更好的組織創新氛圍。加大企業質量倫理的建設,有利于公司所有的員工樹立的一種較強質量責任感和道德感,他們會自發的互相交流,不斷創新,不斷追求卓越的質量,為社會不斷地提供優質的產品和服務,滿足公眾地需求,促使企業打造品牌優勢,增強核心競爭力。
    參考文獻(略)
    相關閱讀
      暫無數據
    ?
    想畢業,找代寫
    在線咨詢 在線留言咨詢
    QQ在線
    返回頂部
    <li id="qqqqq"></li>
  • <tt id="qqqqq"><table id="qqqqq"></table></tt>
    <li id="qqqqq"></li>
    欧美激情视频一区 土默特左旗| 伊春市| 桦川县| 高阳县| 达拉特旗| 南宁市| 新泰市| 定陶县| 门头沟区| 安福县| 聊城市| 布尔津县| 石阡县| 富锦市| 麟游县| 平果县| 元氏县| 尉犁县| 禄丰县| 招远市| 普定县| 岱山县| 休宁县| 东莞市| 镇赉县| 陵川县| 堆龙德庆县| 惠水县| 晋州市| 昌图县| 陇西县| 安泽县| 永定县| 安陆市| 荃湾区| 清原| 固原市| 怀宁县| 武宁县| 乳山市| 顺昌县| http://444 http://444 http://444